В Ford Motor Co. создан интересный фиксатор груза для пикапов
Знаменитый заокеанский автопроизводитель зарегистрировал в Патентном ведомстве США оригинальное устройство для фиксации грузов в кузовах пикапов и грузовиков.
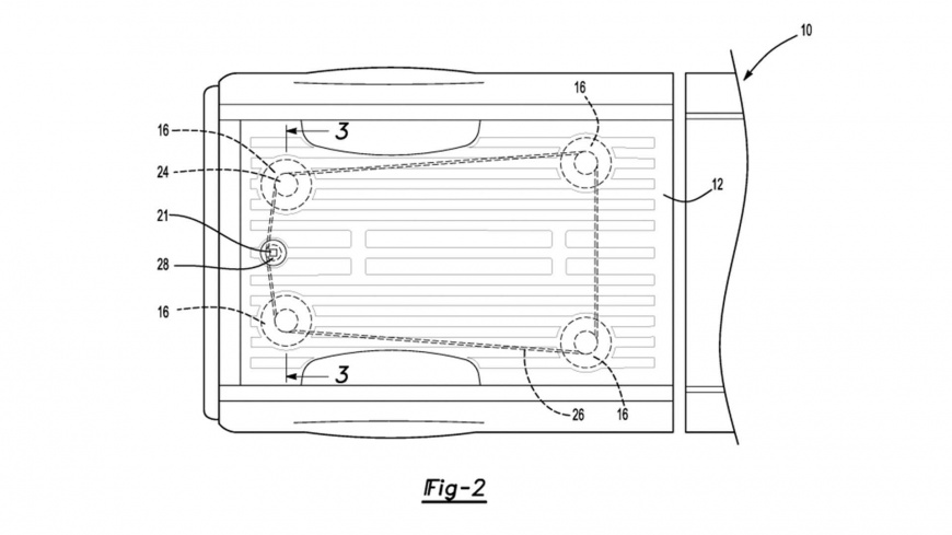
Проблема крепления поклажи в кузовах возникла одновременно с началом производства грузовых автомобилей. Её пытаются решить до сих пор — в основном, применением стяжных лент и крепёжных колец, но универсального способа пока не изобретено.
Специалисты Ford Motor Co. разработали способ крепления грузов с помощью 6 довольно мощных электромагнитов. Они встроены в пол кузова и могут активироваться выборочно — с помощью кнопок в салоне или приложения в мультимедийной системе.
Способ, конечно, интересный, но по поводу него есть пара вопросов. Во-первых, как быть, если перевозимый груз сделан из немагнитных материалов? И во-вторых — как известно, электромагниты могут помешать работе некоторых элементов бортовой электроники. Значит, её нужно каким-то образом защитить от магнитного поля, но как это сделать — в заявке не указано.


