Mazda запатентовала роторный мотор с турбонаддувом
В последние годы представители Mazda не раз заявляли о желании вывести на рынок преемника спортивной модели RX-8 с двигателем Ванкеля. Похоже, это желание скоро осуществится.
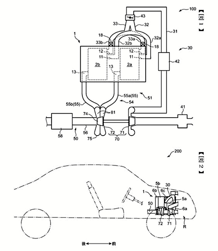
Недавно Mazda запатентовала новый роторный двигатель, оснащённый турбонаддувом. Применённая там турбина отличается от современных конструкцией порта для приёма выхлопных газов бокового порта и некоторыми другими элементами.
Эти инженерные решения повышают эффективность двигателя и улучшают его топливную экономичность — а ведь моторы Ванкеля сошли со сцены именно из-за чрезмерной прожорливости.
Что же касается самого преемника Mazda RX-8, то эксперты считают, что он будет создан на основе концепт-кара RX-Vision Mazda, показанного в 2015 г. Фирма по этому поводу хранит молчание, но ведь его явно сделали не просто так — слишком уж он годен для серийного производства.


