Концерн FCA запатентовал новый мотор
Итало-американский концерн FIAT Chrysler Automobiles (FCA) зарегистрировал в Патентном ведомстве США новый двигатель для своих автомобилей американских марок.
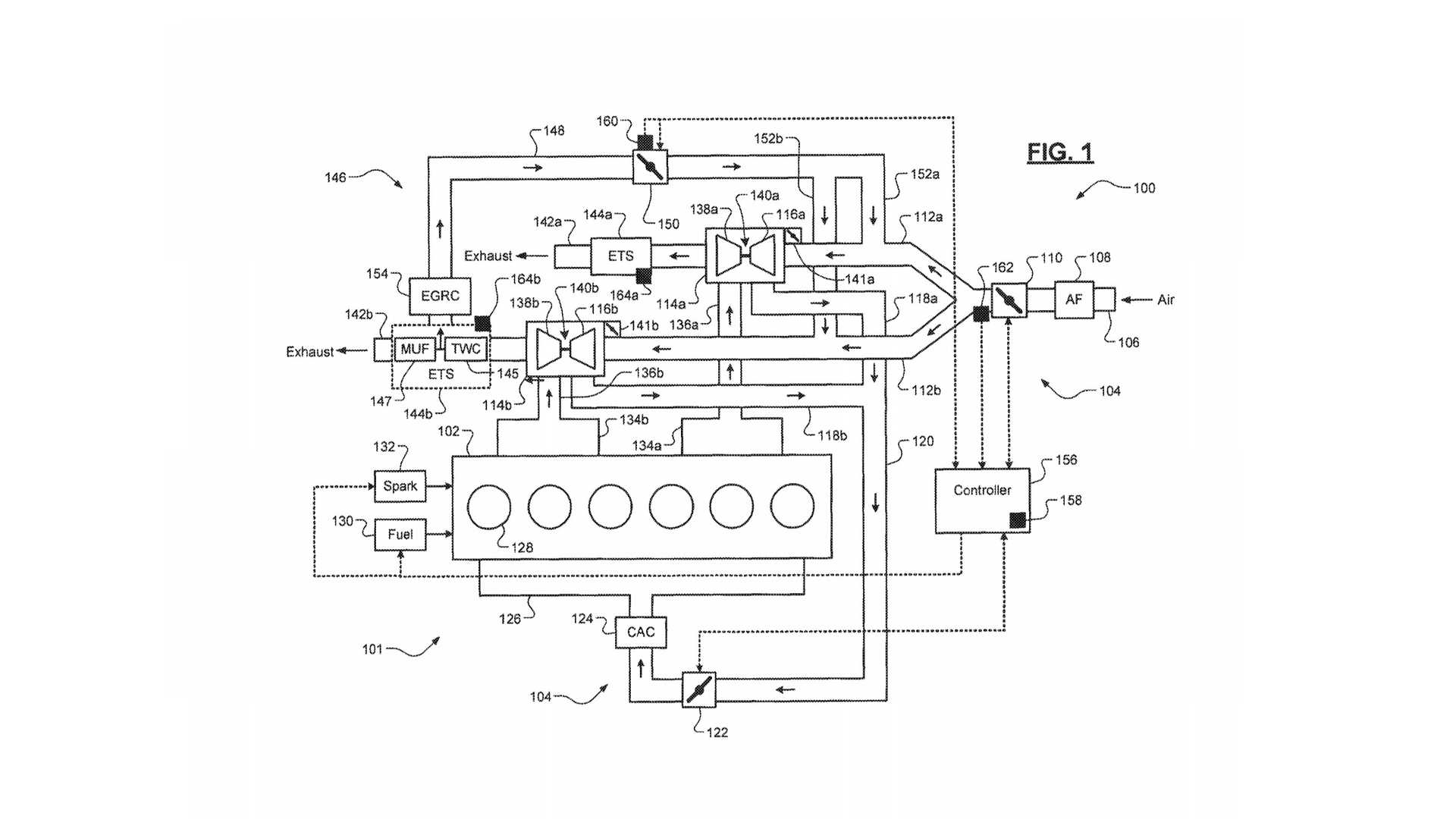
Это рядный 6-цилиндровый бензомотор с турбонаддувом, получивший название GME-T6 (Global Medium Engine Turbo-6). Его объём составляет около 6 л., а мощность может варьироваться от 360 до 500 л. с.
В двигателе применена новая технология турбонаддува, получившая обозначение eBooster. В ней серьёзно изменена система рециркуляции выхлопных газов, что позволило избавиться от эффекта «турбоямы» и увеличить мощность на 25%.
По слухам, концерн планирует использовать новый мотор в качестве преемника 7-литрового V8 HEMI.
