Ford запатентовал чувствительные к влаге кресла, которые сами сушатся
Фирма Ford Motor Co. зарегистрировала в Патентном ведомстве США автомобильные кресла, снабжённые системой автоматического удаления влаги с обшивки.
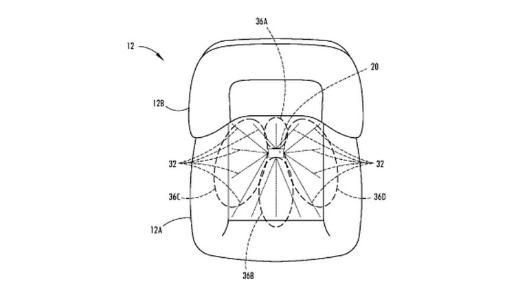
Сиденья с обогревом и вентиляцией сейчас не редкость, но в Ford придумали, как сделать их постоянно сухими. Внутри такого кресла находятся датчик влажности, цепь резисторов и электровентилятор. 1-й определяет, есть ли влага на обшивке (для этого она сделана перфорированной).
При обнаружении влаги датчик автоматически включает резисторы, которые нагревают находящийся между слоями набивки кресла воздух, а вентилятор гонит его наружу.
Новая система работает независимо от штатного обогрева сидений, так как её температурный режим совершенно другой — для того, чтобы держать обшивку сухой, нужен более слабый нагрев.

