Tesla заменит «дворники» лазерами
Фирма Tesla запатентовала инновационную систему очистки лобовых стёкол своих электромобилей.
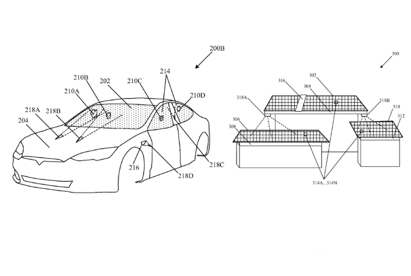
Вместо обычных «дворников» в ней разработали технологию, получившую название «Импульсная лазерная очистка». Кроме стёкол, таким способом планируется очищать телекамеры заднего вида и солнечные панели на крыше.
Кроме того, новая технология Tesla не требует участия водителя — она способна самостоятельно находить загрязнения и ликвидировать их.
Правда, непонятно, как будут располагаться очищающие лазеры, ведь при работе с лобовым стеклом, например, их световые пучки будут направлены на водителя и могут ему помешать. Кроме того, неизвестно, как поведёт себя новая система в сильный дождь или снегопад.
