Электрический Ford F-150 будет усовершенствован
Ford Motor Co. запатентовала серьёзные усовершенствования для своего электропикапа Ford F-150.
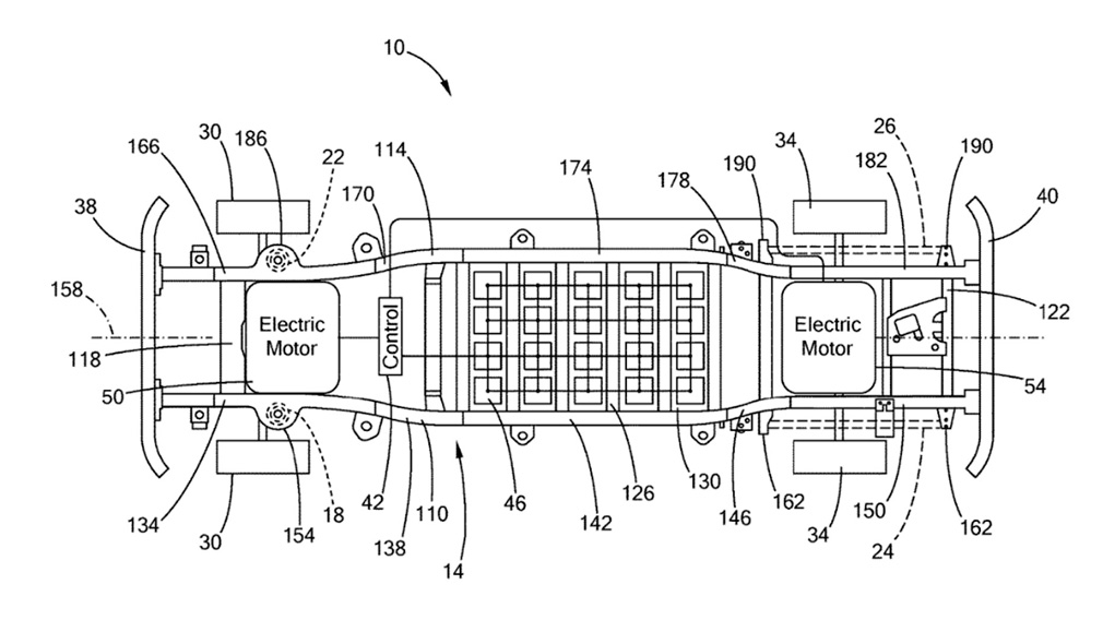
Первым из них стала доработанная рама — на ней появились дополнительные поперечины и нижняя пластина, обеспечивающие надёжное и безопасное крепление аккумуляторных батарей. Кроме того, они увеличивают жёсткость на изгиб и кручение самой рамы.
Новшество № 2 — доработка подвески электромобиля. Она позвоит устанавливать на него не 2 электромотора, а 4 — по одному на каждое колесо. Такая модернизация даст возможность точнее распределять крутящий момент между колёсами.
Как сообщил директор Ford Motor Co. по электрификации Тед Каннис, серийное производство электропикапа начнётся в 2021 г.
