Появилась информация о первом электромобиле Ferrari
Легендарная итальянская фирма выложила в интернет патентные изображения первого в своей истории электромобиля.
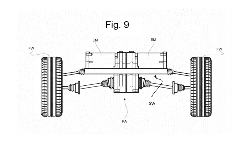
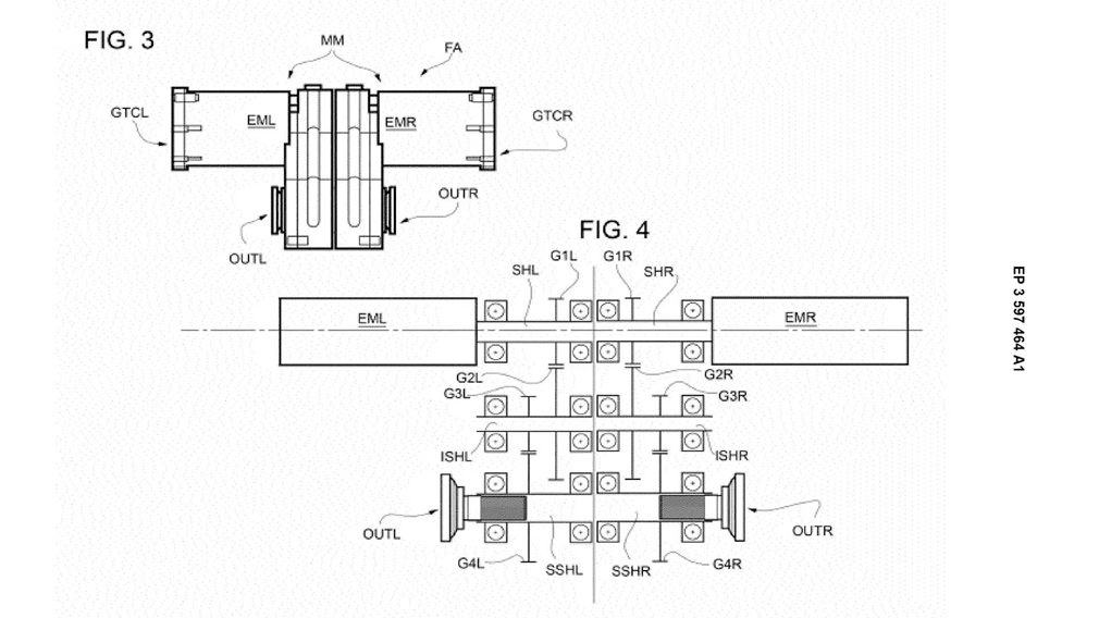
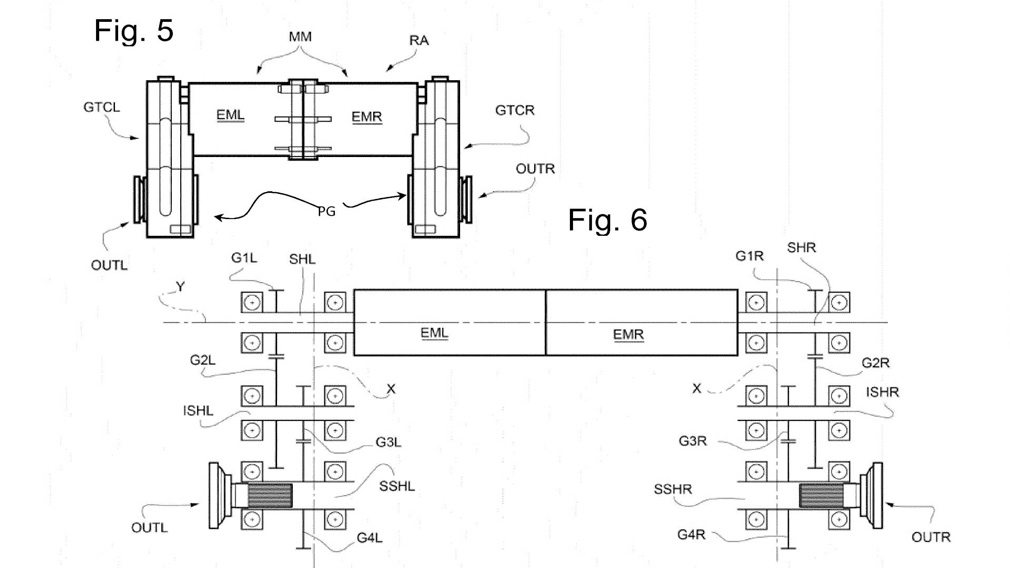
Ferrari «на батарейках» — полноприводный спорткар, который оснащён 4-мя электродвигателями. Это дало возможность применить интеллектуальную систему управления вектором тяги и эффективное рекуперативное торможение.
Ходят слухи, что силовая установка этого Ferrari позаимствована у концептуального электрического гиперкара Drako GTE. В таком случае новинка может похвастаться сумасшедшей мощностью в 1 217 л. с.
В то же время директор Ferrari Луи Камиллери сообщил, что он недоволен нынешним уровнем развития применяемых в электромобилях технологий — особенно, в том, что касается аккумуляторных батарей.
Поэтому премьера электрического Ferrari состоится не ранее 2025 г. — к тому времени энергозапас аккумуляторов должен существенно возрасти, а время их зарядки — сократиться.



