Ford Bronco получит быстросъёмные двери
Новый американский внедорожник Ford Bronco получит быстросъёмные двери. Их конструкция уже запатентована Ford Motor Сo.
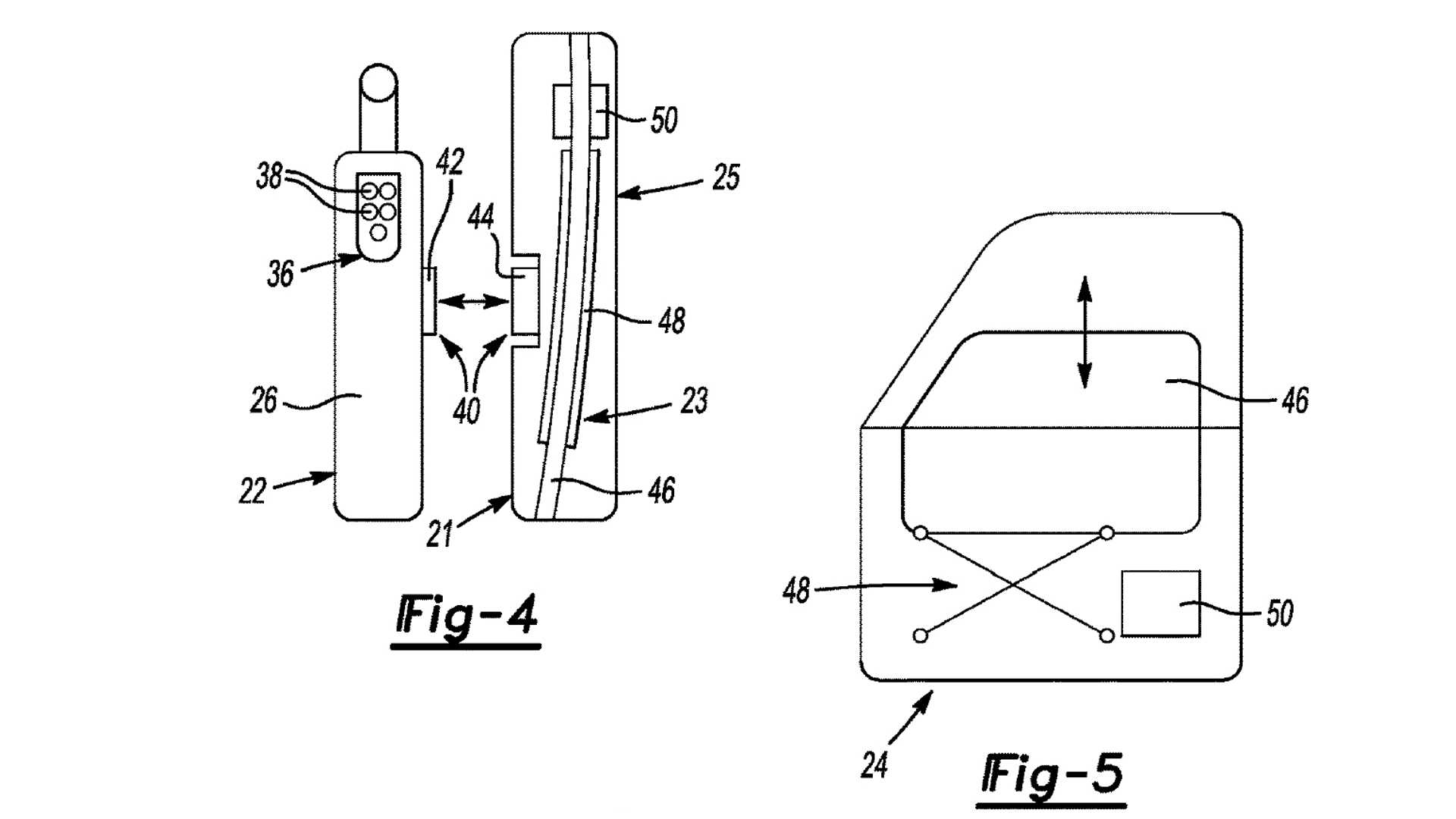
Такие двери состоят из 2-х частей: внешней, представляющей собой панель со стеклом, стеклоподъёмником, замком и оконной рамкой, и внутренней, которая сделана в виде трубчатой конструкции, несущей электрические выключатели для стеклоподъёмника и замка.
Они соединяются с помощью особых защёлок, которые позволяют быстро снимать обшивку двери. Внутренняя её часть, которая также служит защитой пассажиров от боковых ударов, остаётся на своём месте.
Официальная презентация Ford Bronco состоится в марте или апреле. На ней станет понятно, для какой версии внедорожника будут использованы новые двери.

