Бит или не бит — вот в чём вопрос: как понять, был ли автомобиль в ДТП
Ни для кого не секрет, что основную часть автомобильного рынка России составляют подержанные машины. Их продают и покупают в куда больших объёмах, нежели новые. Но, приобретая автомобиль с пробегом, нужно быть очень внимательным, чтобы не потратить деньги на «ведро с гайками», которое принесёт сплошные хлопоты вместо пользы.
Вчера мы рассказали о том, на что следует обратить особое внимание при осмотре подержанного автомобиля, выбранного для покупки. Сейчас же подробно рассмотрим такой важный вопрос, как способы определения того, попадала ли машина в аварии.
Сразу оговоримся: это не так уж и просто. Современные технологии дают возможность так восстановить автомобиль, что внешне он практически не будет отличаться от нового. Но полученные им в аварии повреждения всё равно рано или поздно дадут о себе знать, поэтому не нужно жалеть время на внимательный осмотр его кузова.
Лучше всего делать это в крупном автосервисе, который пользуется хорошей репутацией. В его цехе кузовного ремонта обязательно имеется специальный стенд для восстановления геометрии кузова после аварии — работающие на нём мастера проведут точную проверку выбранного вами автомобиля.
Кстати, если выбранный вами автомобиль только что доставлен из какой-нибудь европейской страны или из США, то можно обойтись и без поездки в автосервис. В интернете имеется целый ряд специализированных сайтов — например, AutoCheck или Carfax — которые содержат подробные «биографии» автомобилей до момента их отправки в нашу страну.
Пользоваться такими сайтами очень просто: вводим VIN-код машины в их поисковики — и вся информация о ней перед вами. Незнание иностранных языков тут не помеха — многие зарубежные сайты снабжены виртуальными переводчиками.
Но, в силу различных обстоятельств, воспользоваться услугами автосервиса с кузовным ремонтом или интернет-сайтов могут не все автомобилисты. Поэтому при осмотре подержанного автомобиля им следует самостоятельно смотреть, всё ли с ним в порядке.
Сейчас мы расскажем, как это нужно делать, но сначала плохая новость: почти все автомобили, которые ездят по российским дорогам более 3-х лет, не избежали различных повреждений кузова.
Ими могут быть, например, вызванный попаданием камешка скол краски на капоте или поцарапанный придорожными кустами на просёлке пластик бампера. Такие «коцки», конечно, сущая ерунда — их можно легко исправить, а сами они вполне могут быть поводом для торга.
Но вот полностью восстановленный кузов — другое дело. Покупать автомобиль, побывавший в серьёзной аварии, однозначно не стоит — прочность у него уже не та. Поэтому проверять состояние «жестянки» нужно очень внимательно.
Прежде всего, надо выяснить, не перекошен ли кузов. Во-первых, проверяем состояние уплотнителей стёкол и оптики. Все уплотнители должны плотно и равномерно прилегать как к стёклам, так и к стойкам кузова. При этом они точно повторяют очертания проёмов, в которые вставлены стёкла.
Если же какой-то уплотнитель имеет зазоры, горбатится или его вонцы неровно состыкованы, значит, стойка в этом месте перекошена. А из-за чего — уж не последствия ли это поспешного ремонта после серьёзной аварии?
Что касается оптики, то на фары и задние фонари должна быть нанесена одинаковая маркировка. Если, к примеру, на правой фаре она одна, а на правой — другая, значит какую-то из них меняли. А почему?
На то, что какой-либо из элементов светотехники менялся, указывает и состояние его стекла: на том, что новее, оно менее исцарапанное, а у задних фонарей — ещё и более яркое.
Теперь пора переходить к оценке состояния кузова в целом: смотрим на зазоры между ним и всем, что у него открывается — двери, капот, крышка багажника, люк в крыше (если он есть) и лючок заливной горловины бака. Зазоры должны быть равномерными, точно повторяющими очертания открывающихся кузовных элементов и не слишком широкими.
Во время такой проверки следует несколько раз открыть и закрыть всё это. Допустим, если правые двери автомобиля открываются туговато, а левые — слишком легко, значит, его кузов перекошен.
То же самое может показать и капот. У него гибкая конструкция, поэтому при кривом кузове он будет обязательно открываться с заеданием какой-то из сторон и с перекосом.
Кроме того, хорошим показателем состояния кузова служат колёса. Если вдруг на подержанном автомобиле, выставленном на продажу, стоят новенькие шины — он, скорее всего, битый.
Дело в том, что при искривлении лонжеронов кузова, которое неизбежно при сильных ударах, шины начинают изнашиваться неравномерно. Их протекторы трутся только с одной стороны — правой или левой, в зависимости от того, в какой борт «прилетело». А неравномерный износ передних шин ещё может указывать на неправильный сход-развал, что тоже бывает после ДТП.
Поэтому, если продавец восстановленного автомобиля не стал менять шины, считая, что его покупатель — «чайник», который не читал эту статью, вы легко можете вывести его на чистую воду.
Есть и другой способ проверки, весьма эффективный, несмотря на кажущуюся экзотичность. Он, правда, требует, чтобы рядом была грунтовая дорога с относительно ровной поверхностью, но, повторим, работает отлично.
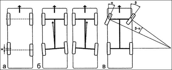
Делается это так: выкатываем машину на грунтовку, выставляем передние колёса прямо и, не меняя положение руля, едем вперёд-назад — по метру-полтора в каждую сторону.
У всех массовых легковых автомобилей ширина колеи передних и задних колёс одинакова, поэтому их следы идут в линию. Следы задних колёс смещены вправо или влево? Этот кузов — кривой!
Если же состояние зазоров на кузове и шин не вызывает подозрений, продолжаем осмотр — сейчас нас интересует лакокрасочное покрытие. У всех автомобилей после 3−5 лет эксплуатации оно тускнеет и покрывается мелкими царапинами, поэтому, если подержанная машина сверкает как новая — её однозначно перекрашивали.
Это может быть вызвано 2-мя причинами. 1-я из них — восстановление кузова после аварии, а 2-я, встречающаяся на машинах более солидного возраста — последствия войны со ржавчиной, покрывшей всю «жесть». Разумеется, и то, и другое — повод отказаться от покупки.
Ещё одним показатель того, что автомобиль попал в серьёзную аварию — обильный слой антикоррозионного покрытия в моторном отсеке или багажнике. Продавцы, не мудрствуя лукаво, объясняют его наличие предохранением от ржавчины, но оно, вероятнее всего скрывает неровно восстановленные кузовные панели.
Поэтому, если, например, под покрытием пола багажника обнаружился слой «Тектила» или «Мовиля», толщиной превосходящий краску — значит в несчастный автомобиль основательно въехали сзади.
Всё вышеизложенное — способы проверки общего состояния кузова. Но чаще бывает так, что в ДТП страдает только какая-то одна его часть. Как проверить, было ли такое?
На то, что крыло или, например, дверь машины ремонтировались или менялись, указывает оттенок их окраски — как правило, он немного ярче, чем цвет кузова в целом. Но, если в ремонте участвовал очень опытный колеровщик, такой разницы может и не быть.
В этом случае для проверки понадобится толщиномер, который взял с собой ваш опытный помощник, об обязательном наличии которого мы говорили вчера. Запомните: толщина заводского лакокрасочного покрытия у всех автопроизводителей почти одинакова и составляет 80 — 110 мкм.
При мало-мальски значительном ремонте любой кузовной детали достичь того, чтобы её поверхность стала идеально ровной можно только одним способом — нанесением слоя шпатлёвки нужной толщины.
Она, разумеется, прибавляется к слою ЛКП, поэтому, если толщиномер где-то показывает значения от 150 мкм и больше — эту поверхность точно правили.
На этом осмотр можно закончить. Если он завершился благополучно и всё, о чём мы сегодня рассказали, показывает на то, что выбранный вами автомобиль — не «постапокалиптический», и находится в нормальном состоянии, то пора переходить к следующим этапам проверки, о которых речь шла вчера.
Если и они не вызвали вопросов — пора начинать процессы купли-продажи, оформления полиса ОСАГО и перерегистрации в ГИБДД.














