Для Ford Bronco запатентована интересная «фишка»
Возрождённый внедорожник Ford Bronco скоро получит необычную «фишку» - крепёжные скобы со встроенными в них указателями поворота.
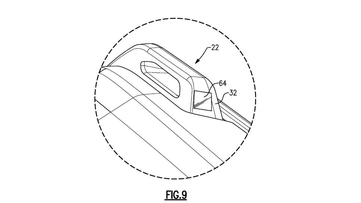
Такие крепёжные скобы будут устанавливаться на капоте автомобиля. Они предназначены для того, чтобы пристёгивать ремнями крупногабаритные предметы, перевозимые на верхнем багажнике.
Чтобы эти сугубо утилитарные детали выглядели интереснее, в них решили вмонтировать дублёры «поворотников». Будут ли в них встроены габаритные лампы, как это принято по американским стандартам, не сообщается.
Когда новый аксессуар появится на внедорожниках – пока неизвестно. Предполагается, что это произойдёт не ранее будущего года.

