Фирма Rivian запатентовала инновационный аккумулятор
Бюро по патентам и товарным знакам США зарегистрировало заявку фирмы Rivian на съёмный аккумулятор, предназначенный для электрического пикапа Rivian R1T.
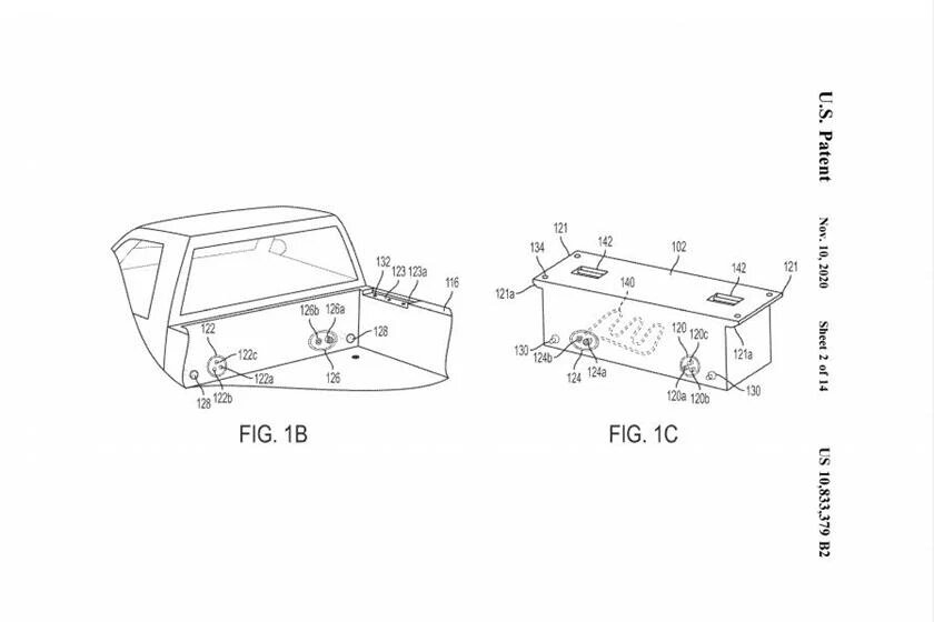
Он достанется электрическому пикапу R1T, базирующемуся на платформе типа скейтборд. Такая же архитектура досталась внедорожнику Rivian R1S, так что он тоже может рассчитывать на инновационную АКБ.
Новая батарея устанавливается на заднюю стенку кабины пикапа, для чего там установлены соответствующие крепления и соответствующие технологические приспособления. Ёмкость аккумулятора, получившего свой охлаждающий контур, может составлять 10, 15 или 20 кВт/ч.
О том, когда Rivian начнёт серийное производство новых батарей и сколько они будут стоить, станет известно в ближайшее время.

