В США запатентован автомобильный пол с функцией массажа
Корпорация General Motors зарегистрировала в Патентном бюро США напольное покрытие для автомобилей, оснащённое функцией массажа.
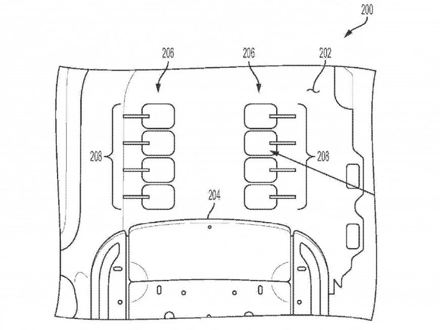
Принцип его действия — такой же, как у массажных кресел: между слоями покрытия расположены небольшие мешочки, соединённые трубками с маленьким компрессором. Последний, в соответствии с определённым алгоритмом, поочередно заполняет мешочки воздухом либо откачивает его от них (на нижнем фото).
Понятно, что такой пол не является одним из самых необходимых для нормальной эксплуатации автомобиля агрегатов. Поэтому, скорее всего, им будут оснащаться исключительно топовые комплактации премиальных автомобилей General Motors — да и то, вероятно, только в качестве опции.
О том, когда массажное напольное покрытие пойдёт в производство, и сколько оно будет стоить, в General Motors пока не сообщили.
